BQ79616 16节串联电池监测器TI

发布时间:2024-09-05 09:33:52     浏览:1858

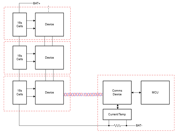
  BQ79616 是TI推出的一款16节串联电池监测器,专为高压电池管理系统设计,适用于混合动力和电动汽车(HEV/EV)的动力总成系统。该器件集成了高精度的电池电压测量、电池均衡和硬件保护功能,能够提供精确的电池状态监控和管理。

  该器件的密封设计支持多种通信选项,便于用户计算电池状态(SOC),并包括温度差分自动调整和恢复能力,以避免潜在的异常条件。

BQ79616 16节串联电池监测器TI

  特性

  1. 高精度:BQ79616 提供 ±1.5 mV 的 ADC 精度,确保电池电压测量的准确性。

  2. 快速测量:能够在 128 ?s 内完成所有电池通道的高精度电压测量。

  3. 先进技术:集成后 ADC 可配置数字低通滤波器和红外通信功能,增强了数据处理的灵活性和通信能力。

  4. 电池均衡:支持内部或外部电池均衡,最大可处理 240mA 的均衡电流,并具备自动停靠和恢复控制功能。

  5. 隔离系统通信:采用环形架构,通过通信中继器实现信息的有效传输。

  6. 主机控制和通讯:支持 UART/SPI 主机接口,可与 TI 的 BQ79600 通信桥接器配合使用,内置 SPI 控制器。

  应用

  BQ79616 主要应用于电池管理系统(BMS),特别是在混合动力和电动动力总成系统中,以及带有电池管理系统的储能电池组。

  封装信息

  - 型号:BQ79616

  - 封装:HTQFP(64 引脚)

  - 尺寸:10.00mm x 10.00mm

推荐资讯

  • 美国American Power Design(APD)高压电源模块DCDC转换器
    美国American Power Design(APD)高压电源模块DCDC转换器 2025-05-06 09:43:29

    美国电源设计公司(American Power Design, Inc.)专注于高压直流/直流转换器的研发与制造,其产品以高性能、高可靠性和宽输入输出电压范围著称,广泛应用于工业设备(如高电压驱动和自动化系统)、科研仪器(实验室和高精度设备)、医疗设备(如成像系统)以及航空航天领域,为各类高电压需求场景提供稳定可靠的电源解决方案。

  • VQA2-12-D1503-S IGBT/SiC驱动专用隔离DC-DC电源模块CUI
    VQA2-12-D1503-S IGBT/SiC驱动专用隔离DC-DC电源模块CUI 2025-07-15 08:52:10

    CUI VQA2-S 系列——7 引脚 SIP 封装的隔离型 DC-DC 电源,专为 IGBT 与 SiC 栅极驱动量身打造。

在线留言

在线留言